JTY-HF-GST102線型光束感煙火災探測器




三、JTY-HM-GST102線型光束探測器結構特征、安裝與布線
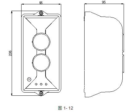
本探測器外形示意圖如圖1-12:

將探測器與反射器相對安裝在保護空間的兩端且在同一水平直線上,探測器外形安裝示意圖如圖1-13:

探測器采用明裝安裝,安裝方式有兩種:穿線管預埋和穿線管明裝。當穿線管預埋時,可將探測器底殼安裝在86H50型預埋盒的上方;當穿線管明裝時,采用支架安裝方式,底殼安裝孔距及支架安裝孔尺寸如圖1-14所示。

當探測器與反射器間的安裝距離大于等于8m(小于等于40m)時,需安裝1塊反射器;  
		當探測器與反射器間的安裝距離大于40m(小于等于100m)時,需安裝4塊反射器。單塊反射器安裝需用兩只6塑料脹釘將其固定,安裝尺寸如圖1-15所示,四塊反射器安裝時應擺放緊密,反射器之間不應留空隙,安裝示意圖如圖1-16所示(圖未按比例)。
		 
探測器需要與直流24V電源線(無極性)及火災報警控制器信號總線(無極性)連接,直流24V電源線接探測器的接線端子D1、D2端子上,總線接探測器的接線端子Z1、Z2上,反射器不需接線。接線端子示意圖如圖1-17。

布線要求:信號總線Z1、Z2采用阻燃RVS型雙絞線,截面積≥1.0mm2;電源線D1、D2采用阻燃BV線,截面積≥1.5mm2。
海灣消防公司主營:海灣消防報警系統銷售,消防設備安裝,海灣氣體滅火、海灣電氣火災、消防水噴淋系統施工安裝,售后維修,海灣消防網站:http://www.9y9y.com.cn/;海灣消防服務熱線:4006-598-119
本頁關鍵詞:JTY-HF-GST102線型光束感煙火災探測器
上一篇:JTY-GF-GST9711(Ex)點型光電感煙火災探測器 下一篇:JTY-HM-GST102線型光束感煙火災探測器

 蘇公網安備32058102002147號
蘇公網安備32058102002147號